Apple iPhone XS Max 512GB 評測與新聞

評測開箱

蘋果原廠iPhone XS Max聰穎電池護殼簡單開箱
蘋果原廠iPhone XS Max聰穎電池護殼簡單開箱

今年 1 月宣布針對 iPhone XS 系列、XR 使用需求打造的聰穎電池護殼,相比先前對應 iPhone X 等機種使用版本,除了提供可額外延伸使用電量,更增加支援 Qi 無線充電功能,讓使用者能有更方便使用感受。在台灣地區悄悄開放銷售之後,筆者也很快地取得一組實際體驗,藉此談談此款配件

日期:2019-05-14 人氣:10872
旗艦對決 iPhone XS Max與三星S10+相機比較
旗艦對決 iPhone XS Max與三星S10+相機比較

蘋果與三星兩大品牌所推出的 iPhone 與 Galaxy S 旗艦系列一直以來都有不少愛用者,目前兩家的年度旗艦系列 iPhone XS 與 Galaxy S10 系列都已推出。Apple iPhone XS 系列採用 A12 Bionic 六核心處理器,SAMSUNG Galaxy S10 系列

日期:2019-04-03 人氣:33404
購機前看評價 iPhone XS、XS Max與XR比較
購機前看評價 iPhone XS、XS Max與XR比較

蘋果於 2018 年 9 月、10 月先後在台灣推出 iPhone XS 與 iPhone XR 系列手機,這兩大系列都採用蘋果最新的 A12 Bionic 六核心處理器,並且搭載具有 Face ID 人臉解鎖功能的 TrueDepth 前鏡頭,最大差異僅在於 iPhone XS / XS Max

日期:2019-02-05 人氣:496219
最貴、最大、最高效能 Apple iPhone XS Max開箱
最貴、最大、最高效能 Apple iPhone XS Max開箱

蘋果年度旗艦手機 Apple iPhone XS Max 搭載了 iPhone 史上最大的螢幕尺寸,採用 6.5 吋超 Retina 顯示器,支援 HDR10 顯示效果,機身使用醫療級特製不鏽鋼邊框,內建 7 奈米製程的 Apple A12 Bionic 處理器,搭配上「神經網路引擎」,擁有即時機器

日期:2019-02-02 人氣:48301
[影片]iPhone Xs與Xs Max重點評測:大螢幕、大容量、7奈米處理器
[影片]iPhone Xs與Xs Max重點評測:大螢幕、大容量、7奈米處理器

蘋果年度旗艦手機 iPhone Xs 與 iPhone Xs Max 在台灣上市,一早 Apple Store,以及中華電信、遠傳電信、台灣大哥大、台灣之星與亞太電信門市出現排隊人潮。Apple iPhone Xs 與 iPhone Xs Max 分別搭載 5.8 吋及 6.5 吋的超 Retina

日期:2018-09-21 人氣:29433
[動眼看]帶來更好使用體驗和相機功能的iPhone XS、XS Max
[動眼看]帶來更好使用體驗和相機功能的iPhone XS、XS Max

作為 iPhone X 後繼機種,iPhone XS 主要延續 iPhone X 的設計思維,並且進一步提昇硬體規格,甚至額外增加螢幕更大,但機身尺寸相對更小的 iPhone XS Max。 iPhone XS 推出之後,不但讓先前維持在市場銷售的 iPhone 6s 與 iPhone

日期:2018-09-13 人氣:16576

相關新聞

還在用這兩款手機?蘋果將其列入過時產品!影響程度一次看懂
還在用這兩款手機?蘋果將其列入過時產品!影響程度一次看懂

蘋果每年都會把一些停止銷售超過 5 年,但未滿 7 年的老舊產品,列入「過時產品」名單當中,並且視零件供應狀況,逐漸停止對這些「過時產品」進行硬體維修服務!根據蘋果最新公布的「過時產品」名單,被稱為一代神機的 iPhone 6S Plus 與 iPhone XS Max 也出現在名單中,還在使用這兩

日期:2024-11-20 人氣:7151
iPhone維修零件是否為原廠貨?iOS 15.2將新增檢測功能
iPhone維修零件是否為原廠貨?iOS 15.2將新增檢測功能

蘋果宣布將於 iOS 15.2 系統更新後,正式導入 iPhone 零件與服務歷史功能,系統會主動告知目前 iPhone 使用的零組件是否為原廠貨,如果是原廠就會顯示「Genuine Apple Part」,如果不是原廠則會顯示「Unknown Part」。如此一來,消費者送修手機後也能自主檢查零件

日期:2021-12-10 人氣:9213
大亂鬥!iPhone 13 Pro Max與5款舊iPhone日夜拍比較
大亂鬥!iPhone 13 Pro Max與5款舊iPhone日夜拍比較

今年新推出的 iPhone 13 Pro Max 主打在相機能力顯著提升,不過究竟拍起來又有多強?是否值得在今年換掉手上的老 iPhone?那就與一堆舊 iPhone 們放在一起 PK 最有感!小編挑選 iPhone 12 Pro Max、iPhone 11 Pro Max、iPhone Xs Ma

日期:2021-10-23 人氣:21340
蘋果:機車高頻率震動會影響iPhone的OIS與閉環對焦性能
蘋果:機車高頻率震動會影響iPhone的OIS與閉環對焦性能

OIS 光學防手震技術近年來可在不少手機上看到;但在機車族眾多的台灣,曾有不少人反應騎車後,手機疑似出現 OIS 光學防手震功能失效,甚至相機模組壞掉需要維修狀況。近日,蘋果於官方支援頁面中確認某些機車的高頻率震動,的確可能影響 iPhone 相機的 OIS、閉環自動對焦等模組功能,降低手機相機的性

日期:2021-09-13 人氣:9307
iPhone換電池優惠690起 當日完修再送螢幕保貼
iPhone換電池優惠690起 當日完修再送螢幕保貼

想要替手上的 iPhone 換顆全新電池嗎?即日起至 12/31 止,前往「手機王合作店家」更換 iPhone 電池(iPhone 6 至 iPhone 11 全系列),即可享有最低 690 元起電池更換優惠,同時保證「當天送修、6 小時內完修」;所有更換的 iPhone 電池皆具備 BSMI 認證

日期:2020-11-24 人氣:59730
為何無法使用iPhone的個人熱點?四招解決網路分享問題
為何無法使用iPhone的個人熱點?四招解決網路分享問題

有時我們因為工作在外,需要開啟 iPhone 的個人熱點將網路分享給筆電或是 iPad,你有沒有遇過無法連接、連線後不穩定的情況發生呢?過去蘋果曾經透過系統更新的方式修正問題,但其實還是有些 iPhone 用戶會有無法分享問路的情況發生,以下就透過小編提供的這幾招方式,來解決困擾妳已久的問題!

日期:2020-08-24 人氣:195741
iPhone原廠電池台灣大限時優惠 不限用戶均可換修
iPhone原廠電池台灣大限時優惠 不限用戶均可換修

台灣大哥大今日(7/2)推出 iPhone 原廠電池限時優惠,即日起凡持有 iPhone 8 / 8 Plus、iPhone X / XS / XS Max / XR 等蘋果手機,不限台灣大用戶,皆可於 7/31 前上網預約登記更換電池,享有限時下殺優惠價。iPhone 8 / 8 Plus 電池價

日期:2020-07-02 人氣:14251
中華電信蘋果購機優惠 iPhone 7與8系列最低0元起
中華電信蘋果購機優惠 iPhone 7與8系列最低0元起

中華電信今日(4/21)推出指定 iPhone 限時購機優惠,只要在 4/24-5/31 期間申辦中華電信大 4G 購機方案,月付 1,399 元(綁約 30 個月),iPhone 7 系列與 iPhone 8 系列專案價最低 0 元,再享 4G 上網吃到飽、網內互打免費、網外送 110 分鐘通話。

日期:2020-04-21 人氣:15967
蘋果手機舊換新優惠縮水 iPhone X折扣砍最多
蘋果手機舊換新優惠縮水 iPhone X折扣砍最多

蘋果日前於台灣官網調整 iPhone 舊換新的折抵價格,包括 iPhone XS Max、iPhone XS、iPhone XR、iPhone X、iPhone 8 Plus、iPhone 8、iPhone 7 Plus、iPhone 7、iPhone 6S Plus、iPhone 6S 等舊手機,

日期:2020-01-16 人氣:15079
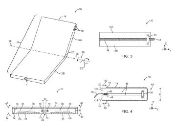
充電可能出問題!蘋果提出iPhone XS系列與XR電池保護殼更換方案
充電可能出問題!蘋果提出iPhone XS系列與XR電池保護殼更換方案

蘋果曾針對 iPhone 6、6S、7 等手機,陸續推出專用聰穎電池護殼(Smart Battery Case),之後也針對 iPhone XS 系列、XR,以及最新的 iPhone 11 系列,設計專用聰穎電池護殼,並進一步導入 Qi 無線充電技術、相機按鈕等設計。蘋果近日(1/10)宣布部分 i

日期:2020-01-13 人氣:8230
遠傳電信推跨年購機優惠 iPhone XS現折5千
遠傳電信推跨年購機優惠 iPhone XS現折5千

遠傳電信宣布推出耶誕、跨年精選獻禮優惠,即日起至 2020 年 1 月 31 日以前,申辦 1,399 以上資費(綁約 30 個月),iPhone XS、XS Max 可享 5,000 元購機優惠;若是搭配 999 以上方案(綁約 30 個月),iPhone XR 手機最高現折 2,000 元。此外

日期:2019-12-25 人氣:3995
濫收eSIM設定費?NCC澄清計算基礎有落差
濫收eSIM設定費?NCC澄清計算基礎有落差

自蘋果推出 iPhone XS 手機並導入實體 SIM 卡搭配 eSIM 的雙卡服務以來,國內 5 家電信業者陸續推出 eSIM 門號相關配套方案;然而 eSIM 技術缺乏轉移機制,若用戶有換機需求則要額外給付 300 元設定費。日前更有媒體報導指出,若以 iPhone 手機平均每年在台灣銷售 17

日期:2019-12-25 人氣:7734
中華電信聖誕暖心加碼 iPhone XS系列最高省1萬2
中華電信聖誕暖心加碼 iPhone XS系列最高省1萬2

中華電信今日(12/20)推出 iPhone 指定機型「聖誕暖心加碼」活動,2020 年元旦以前,凡購買 iPhone XS、XS Max,申辦 999、1,199 資費即享 6,000 元購機優惠;申辦 1,399 資費最高可折 8,000 元。活動期間選購 iPhone XR 256GB、iPh

日期:2019-12-20 人氣:9108
台灣大哥大推iPhone XS Max與XR年終購機方案
台灣大哥大推iPhone XS Max與XR年終購機方案

台灣大哥大今日(12/16)推出 iPhone 系列年終購機優惠,只要在 12/31 以前申辦 4G+ 飆速手機 1,399 方案(綁約 36 個月),iPhone XS Max 64GB 手機專案價 11,300 元,iPhone XR 64GB 只要 2,900 元,合約期間可享不降速上網吃到飽

日期:2019-12-16 人氣:22483
中華電信12月購機優惠 iPhone XS系列最高折4千元
中華電信12月購機優惠 iPhone XS系列最高折4千元

中華電信今日(12/2)推出「溫馨耶誕暖心獻禮」購機優惠,2020 年元旦以前,凡購買 iPhone XS、XS Max,申辦 1,399 資費(綁約 36 個月),即享 4,000 元購機折扣,行動 VIP 客戶購機再折 5,000 元。12/9-12/15 針對中華電信門號客戶(含預付卡)加碼再

日期:2019-12-02 人氣:10805
蘋果官網上架AirPods Pro 台灣價格7990元
蘋果官網上架AirPods Pro 台灣價格7990元

蘋果於台灣官網正式推出全新真無線藍牙耳機 AirPods Pro,採用入耳式機身設計,導入主動式降噪與通透模式,進一步提升聆聽體驗,搭配適應性等化功能,還可依據不同耳型自動調整中、低音頻表現。此外,支援 IPX4 防汗抗水、藍牙 5.0、音訊分享。AirPods Pro 建議售價 7,990 元,不

日期:2019-10-29 人氣:19159
iPhone 11首賣日 中華電信祭出3600禮券
iPhone 11首賣日 中華電信祭出3600禮券

中華電信今日(9/18)宣布 9/20 上午 8 點,將在信義威秀服務中心,舉辦「iPhone 11 全機型首賣會」,現場預計發送 3,600 元優惠券,限額 100 名;10 月底前,至門市購買 iPhone 11 系列手機、Apple Watch Series 5 GPS,或上述機型與 AirP

日期:2019-09-18 人氣:10787
德誼數位、燦坤推iPhone 11系列手機預約好禮
德誼數位、燦坤推iPhone 11系列手機預約好禮

為因應即將上市的 iPhone 11 系列手機,德誼數位今日(9/11)宣布,即日起至 9/30 止,至門市購買 iPhone XR、XS、XS Max,最高可得 5,500 元購機折扣,可再享加購指定周邊配件 5 折優惠;燦坤 3C 亦宣布將於 9/12 提供 iPhone 11 系列,以及 Ap

日期:2019-09-11 人氣:26135
iPhone 11系列與iPhone XS、XR差別在哪?
iPhone 11系列與iPhone XS、XR差別在哪?

在 iPhone 11、iPhone 11 Pro 與 iPhone 11 Pro Max 揭曉後,來比較看看與去年推出的 iPhone XR、iPhone XS、iPhone XS Max 差異在哪? 相關文章: iPhone 11 Pro、11 Pro Max同步亮相

日期:2019-09-11 人氣:204394
蘋果強調Face ID將用在更多裝置 Touch ID也會持續使用
蘋果強調Face ID將用在更多裝置 Touch ID也會持續使用

在蘋果正式揭曉新款 iPhone 11 之前,蘋果產品營銷部門副總裁 Greg Joswiak 透露 Face ID 技術將會持續應用在更多蘋果裝置,但 Touch ID 技術依然會技術使用。以目前蘋果新款 iPhone XS 與 iPhone XR 均捨棄原本 Touch ID 使用模式,

日期:2019-09-10 人氣:8766
蘋果首度YouTube直播發表 iPhone 11 Pro傳有四大改變
蘋果首度YouTube直播發表 iPhone 11 Pro傳有四大改變

蘋果將於美西夏令時間 9/10 早上 10 點(台灣時間 9/11 凌晨 1 點)舉行秋季新品發表會。與以往僅限包括 iOS 裝置、Mac 系列電腦與 Apple TV 等產品觀看直播,或是在 Windows 系統電腦中以特定瀏覽器收看發表方式略有不同,蘋果這次首度透過 YouTube 頻道進行直播

日期:2019-09-09 人氣:8579
蘋果計畫以新技術提昇iPhone定位精準度
蘋果計畫以新技術提昇iPhone定位精準度

先前已經有消息指出蘋果將在秋季發表會同時公布類似 Tile 的定位裝置,讓使用者能以此配合 iPhone 追蹤個人物品,而相關說法更指出蘋果將在此項裝置採用超寬頻(UWB,ultra wideband)定位技術,藉此對應更遠且精準的定位效果。若依照目前應用在 Tile 之類定位裝置的 Blu

日期:2019-09-09 人氣:3623
iPhone 11 Pro與11 Pro Max傳有漸變色機身 模擬圖曝光
iPhone 11 Pro與11 Pro Max傳有漸變色機身 模擬圖曝光

近年來,智慧型手機的背蓋顏色不再走單一顏色設計,不少廠商紛紛啟用漸變色彩,或是搭配特殊鍍膜打造光影特效。近日傳出 iPhone 11 Pro 與 11 Pro Max 除了預期的黑、白、玫瑰金、紅四種單色機身之外,蘋果也考慮導入新漸變色機身設計,其視覺效果傳聞可能與 SAMSUNG Galaxy N

日期:2019-09-06 人氣:28505
蘋果文件顯示新機名稱為iPhone 11、11 Pro與11 Pro Max
蘋果文件顯示新機名稱為iPhone 11、11 Pro與11 Pro Max

在相關文件內容中,顯示蘋果接下來準備揭曉新機名稱確定就是 iPhone 11、iPhone 11 Pro,以及iPhone 11 Pro Max。此外,相關資訊也顯示新款 iPhone 11 將會在 9 月 23 日星期一開放銷售,但比照蘋果過往新機上市時間多半選在星期五的情況有些不同,因此

日期:2019-09-04 人氣:7732
iPhone 11疑現跑分資料庫 4GB RAM規格配置
iPhone 11疑現跑分資料庫 4GB RAM規格配置

蘋果下一代手機 Apple iPhone 11 系列手機,預期將於美國時間 9/10 舉行的秋季新品發表會亮相。近日,Geekbench 跑分資料庫出現一型號為「iPhone12,1」的不知名新機跑分,被認為可能就是對應 Apple iPhone 11;資料並未公布詳細處理器型號,僅顯示擁有 6 核

日期:2019-09-04 人氣:15633
iPhone 11系列傳9/20開賣 iPad Pro模擬圖曝光
iPhone 11系列傳9/20開賣 iPad Pro模擬圖曝光

蘋果 2019 秋季新品發表會將於 9/10 登場,預期可看到包括 iPhone、iPad、Watch 系列新品亮相,相關產品資訊持續外洩。國外網站 MacRumors 近日宣稱取得美國電信商內部人員說法,以往皆為 iPhone 新品首發地區的美國,此次 iPhone 11 系列預期將依照慣例,於發

日期:2019-09-02 人氣:20950
蘋果開放獨立廠商透過原廠零件和認證服務提供維修
蘋果開放獨立廠商透過原廠零件和認證服務提供維修

蘋果稍早宣布,將推出全新獨立維修合作計畫,將向參與此項計畫的獨立維修服務商提供蘋果原廠零件、維修工具,以及相關培訓與維修指導資源,藉此提供等同蘋果授權服務據點相同維修品質。目前此項計畫將先在美國境內推行,藉此擴展更多蘋果產品維修據點,同時也能減少一般坊間透過品質參差不齊的第三方零件進行維修,

日期:2019-08-30 人氣:2802
蘋果確定9/10秋季新品發表 iPhone 11系列手機預期亮相
蘋果確定9/10秋季新品發表 iPhone 11系列手機預期亮相

蘋果稍早在官網正式宣布,將於美國時間 9 月 10 日在 Apple Park 內的賈伯斯劇院(Steve Jobs Theater)舉行秋季新品發表會,並已陸續寄發活動邀請函;預期將可看到 iPhone 11、iPhone 11 Pro、iPhone 11 Pro Max 等三款手機亮相,亦傳出

日期:2019-08-30 人氣:23533
iPhone新機沒秘密?2019年版本實機影片疑洩
iPhone新機沒秘密?2019年版本實機影片疑洩

傳聞 2019 年版新 iPhone 可能命名為 iPhone 11、11 Pro 與 11 Pro Max,三款新機傳出會導入矩形相機模組,且 iPhone 11 Pro 跟 11 Pro Max 預期將有三鏡頭規格;但正面螢幕設計據傳維持前代的「瀏海」設計。近日,網路流傳宣稱是新一代 iPhon

日期:2019-08-28 人氣:11091
彭博新聞透露新iPhone型號將加上Pro
彭博新聞透露新iPhone型號將加上Pro

過去一向精準掌握蘋果新品動態消息的彭博新聞,稍早在報導中整理蘋果接下來預期推出新品,其中包含可能會在秋季新品發表會亮相的三款全新 iPhone,以及將會換上 16 吋螢幕規格的新款 MacBook Pro,就連 iPad Pro、Apple Watch、AirPods 與 HomePod 更新產品也

日期:2019-08-26 人氣:10626
傳新iPhone將與三星手機螢幕同規格 可能加入京東方供應
傳新iPhone將與三星手機螢幕同規格 可能加入京東方供應

蘋果從 iPhone X 開始採用 OLED 螢幕設計,並且與三星合作面板供應,而就相關消息表示,今年預計推出的 iPhone 新機也會與三星合作 OLED 面板,甚至將採用與 Galaxy 系列旗艦手機相同的面板規格。但另一方面,相關分析看法則認為在蘋果多重供應鏈合作策略之下,中國京東方或許也會加

日期:2019-08-19 人氣:7490
iPhone 11發表日傳9/10 大尺寸可能命名11 Pro Max
iPhone 11發表日傳9/10 大尺寸可能命名11 Pro Max

依照以往慣例,蘋果預期將在 9 月中旬發表新一代 iPhone 產品。近日國外網站 iHelp BR 宣稱從 iOS 13 開發者版本中,發現名為「HoldForRelease」的圖片,其中的行事曆圖示顯示 10 號星期二,該日期推估就是指 9 月 10 日;因為去年 iPhone XS 發表前也出

日期:2019-08-16 人氣:31744
蘋果智慧喇叭HomePod台灣即將上市 8/16開賣
蘋果智慧喇叭HomePod台灣即將上市 8/16開賣

蘋果在 2017 年 6 月發表了 HomePod 智慧喇叭,並於 2018 年 2 月於全球特定市場開賣,台灣則是即將在近期推出。HomePod 搭載空間感知技術,除了可分析室內環境音,提供一致的音色表現外,還能將音效以 360 度形式,自底部傳送出去,營造出聲音的空間感;此外,支援 Siri 語

日期:2019-08-12 人氣:7206
蘋果iPhone XS Max後續機種 傳改名iPhone 11 Pro
蘋果iPhone XS Max後續機種 傳改名iPhone 11 Pro

蘋果在 Apple iPhone XS 系列推出之前,都是在 iPhone 型號中使用 Plus 字樣代表是大尺寸產品;從 iPhone XS Max 開始,大螢幕款式則改用 Max 字樣。最新消息指出,蘋果除了之前傳聞 2019 年版 iPhone 產品名稱將改為數字編碼之外,大尺寸產品名稱不會依

日期:2019-08-12 人氣:15709
SoftBank總裁暗示新iPhone可能上市時間
SoftBank總裁暗示新iPhone可能上市時間

SoftBank 總裁暨執行長宮内謙在稍早說明財報結果時,暗示今年預計推出的新款 iPhone 將會在 9 月底前 10 天左右上架。若以時間點來算的話,若 SoftBank 所指上架日期為 9 月 20 日,按照往年蘋果通常會在發表會隔一週開放銷售情況猜測,預期今年新機同樣會選擇在 9 月 11

日期:2019-08-06 人氣:8129
Apple Card在越獄後無法使用 也不能購買加密貨幣
Apple Card在越獄後無法使用 也不能購買加密貨幣

針對預計在8月間正式推出的 Apple Card,與蘋果合作此款信用卡服務的高盛銀行稍早釋出完整用戶使用協議,明確闡述此張信用卡相關使用須知,其中包含申請資格、使用規範、信用額度、回饋方式等細節,讓預計申請 Apple Card 的使用者能清楚這張信用卡有哪些應注意事項。部分細節其實已經在日

日期:2019-08-05 人氣:2790
分析師估2019年iPhone將支援Apple Pencil觸控
分析師估2019年iPhone將支援Apple Pencil觸控

Apple Pencil 觸控筆從 2015 年發表以來,一開始僅有 iPad Pro 能使用,近期幾款新 iPad 也開放支援 Apple Pencil 觸控。去年就有消息傳出,蘋果有意將 Apple Pencil 觸控功能導入智慧型手機上,但 iPhone XS、iPhone XS Max、i

日期:2019-08-02 人氣:10434
蘋果2020推出的iPhone將支援兩種5G網路技術
蘋果2020推出的iPhone將支援兩種5G網路技術

如同先前市場預測,天風國際分析師郭明錤在新一份報告中指出,蘋果預期會在 2020 年推出的 iPhone 新機才會正式加入 5G 連網功能,同時預期推出三款不同機種設計,並且支援 mmWave 與 6GHz 以下頻譜兩種 5G 網路主要連接模式。 在先前的說法中,由於今年 5G 連網應

日期:2019-07-29 人氣:11625
iPhone 11系列模型機疑洩 矩型相機搭大尺寸鏡頭
iPhone 11系列模型機疑洩 矩型相機搭大尺寸鏡頭

蘋果新一代 iPhone 預期將依照以往慣例於 9 月發表,傳聞新機一大改變在於後置主相機外型調整。國外電商網站 MobileFun 稍早宣稱取得 3 款 2019 年版新 iPhone 模型機,並表示 3 款新機將取名為 iPhone 11、11 Max 與 11R,機身尺寸都與前代差不多,但因為

日期:2019-07-19 人氣:16089
2020年iPhone傳螢幕瀏海會變小 之後改用真全螢幕
2020年iPhone傳螢幕瀏海會變小 之後改用真全螢幕

蘋果在 2017 年發表的 Apple iPhone X 首次啟用「瀏海」螢幕設計,之後包括 iPhone XS、XS Max 與 iPhone XR 等產品都沿用這項設計,預期 9 月推出的新機也會選擇「瀏海」螢幕的設計。天風國際分析師郭明錤近日在分析報告中提到,2020 年版 iPhone 將會

日期:2019-07-12 人氣:10847
Apple Pay確定支援香港八達通 悠遊卡再等等
Apple Pay確定支援香港八達通 悠遊卡再等等

先前在 iOS 13 beta 測試版本原始編碼中發現疑似對應香港八達通交通卡之後,稍早八達通也正式對外確認,將在今年稍晚時候開放 iPhone 及 Apple Watch 模擬使用八達通交通卡,除了可以用於搭乘香港地鐵等交通工具,同時也能用於支援八達通交通卡小額交易的零售通路。 不過

日期:2019-07-12 人氣:5004
iOS 13將用AI改善FaceTime通話中目光飄移狀況
iOS 13將用AI改善FaceTime通話中目光飄移狀況

在稍早釋出更新的 iOS 13 beta 測試版本中,蘋果開始在 FaceTime 設定選項中加入名為「FaceTime 螢幕注視修正(FaceTime Attention Correction)」的選項,開啟之後將會藉由人臉辨識與 ARKit 技術應用,讓使用者可能偏離螢幕的目光「變成」更專注於通

日期:2019-07-04 人氣:3946
機身設計沒秘密?2019新iPhone CAD模型圖疑洩
機身設計沒秘密?2019新iPhone CAD模型圖疑洩

傳聞 2019 年預計推出的新一代 Apple iPhone 將依循之前的產品策略,推出三款新機,螢幕尺寸預期跟現有 iPhone XS、XS Max、XR 一樣,分別為 5.8、6.5、6.1 吋,前兩款配置 OLED 螢幕,最後一款依舊為 LCD 材質;同時機身設計最大改變在於主相機模組改為矩形

日期:2019-07-03 人氣:8202
蘋果將針對中國打造符合在地需求的iPhone手機
蘋果將針對中國打造符合在地需求的iPhone手機

受到小米、OPPO、vivo 與華為在內中國品牌手機影響,蘋果 iPhone 在中國市場持續面臨用戶流失問題,因此除了在近年推行手機陸續加入對應中國市場使用功能,同時在去年推出的 iPhone XS 系列也正式加入雙卡雙待,甚至針對中國市場需求提供實體雙 SIM 卡槽設計,同時也藉由價格相對較低的

日期:2019-07-01 人氣:4080
Arm CPU架構師跳槽蘋果 預期讓A系列處理器效能提昇
Arm CPU架構師跳槽蘋果 預期讓A系列處理器效能提昇

曾經參與打造 Arm Cortex A57、A72、A76 CPU 設計的首席架構師 Mike Filippo,稍早在其個人 Linkedin 更新資料顯示已經加盟蘋果,意味接下來蘋果在 A 系列處理器效能表現將可能進一步提昇。相比市場主流行動處理器效能表現,蘋果打造的 A 系列處理器始終成

日期:2019-06-27 人氣:3682
配件商曝新iPhone機身設計 傳型號回歸數字命名
配件商曝新iPhone機身設計 傳型號回歸數字命名

外傳包括 Apple iPhone XS、XS Max、XR 等手機後繼機種,可能將會改用矩形主相機模組。近日,國外電商網站 MobileFun 上架多款 Olixar 品牌的 2019 年版 iPhone 保護殼,其中產品宣傳圖同時模擬出新版 iPhone 外型設計,可看到不論配置三鏡頭或是雙鏡頭

日期:2019-06-26 人氣:11629
蘋果再次開職缺 可能於台灣不同地點啟用新直營店
蘋果再次開職缺 可能於台灣不同地點啟用新直營店

6 月 15 日才剛宣布啟用首間在台以獨立店面形式打造的直營店「Apple 信義 A13」之後,蘋果稍早在次於官網公布諸多工作職缺,其中將徵求包含領導人才培育計劃、資深經理、經理、店面負責人、創新培訓師、技術專員等職缺項目。 而從職缺地點位於「台灣的不同地點」來判斷,有可能選擇台北以外地點,但

日期:2019-06-25 人氣:4550
體驗新系統功能 iOS 13與iPadOS釋出公開測試版
體驗新系統功能 iOS 13與iPadOS釋出公開測試版

今年在 6 月初於 WWDC 2019 期間揭曉的 macOS 10.15 Catalina,稍早終於正式向一般用戶釋出開放測試版本,使用者僅需透過 Apple Beta Software Program 網站以個人蘋果帳號申請註冊,即可參與公開測試。 除了 macOS 10.15 Catal

日期:2019-06-25 人氣:3694
2020年iPhone傳全面啟用OLED 兩個尺寸將支援5G
2020年iPhone傳全面啟用OLED 兩個尺寸將支援5G

2019 年被視為 5G 元年,各國政府、電信商陸續建設與啟用相關設施,包括三星、華為、小米等手機廠商也發表旗下首款 5G 手機。在這波 5G 浪潮初期,蘋果公司沒有太大的動作,可能要等到 2020 年才會推出旗下首款 5G 手機。近日,天風國際分析師郭明錤在最新分析報告中指出,蘋果的確 2020

日期:2019-06-19 人氣:11908
英國配件商透露新iPhone將換上三鏡頭相機設計
英國配件商透露新iPhone將換上三鏡頭相機設計

雖然前還無法確定蘋果下一款 iPhone 是否會以 iPhone 11 為稱,但顯然目前不少配件廠商已經陸續從蘋果獲取新機相關數據,藉此提前製作對應新機使用的保護殼,或是螢幕保護貼等配件。而從諸多配件廠商藉由取得數據打造的渲染圖像,或是模型機外貌,雖然還無法確定新機具體硬體規格差異,但似乎可以從外觀

日期:2019-06-17 人氣:6342
[影片]台灣首家蘋果旗艦店 Apple 信義 A13開幕直擊
[影片]台灣首家蘋果旗艦店 Apple 信義 A13開幕直擊

蘋果台灣首家旗艦店「Apple 信義 A13」正式開幕,店址位在松壽路和松仁路口,「Apple 信義 A13」在建築設計上與美國加州的「Apple Vistor Center」相當類似,不管是外觀、設計、風格與建材皆是相同水準,尤其建築中採用的石材、木材與金屬與  Cupertino 蘋果總部所使用

日期:2019-06-15 人氣:29449
iPhone XR二代電量可能3110mAh 傳新增夜間拍攝模式
iPhone XR二代電量可能3110mAh 傳新增夜間拍攝模式

天風國際分析師郭明錤曾分析,新一代 Apple iPhone 將會提升電量,其中 iPhone XR 後續產品的電池預期增加 5% 電量;稍早韓國網站 THE ELEC 宣稱取得業界人士說法,蘋果的電池供應商 ATL 已開始生產 iPhone XR 後續機種的電池,其電量的確比之前增加 5%,來到

日期:2019-06-14 人氣:12615
蘋果台灣旗艦店「Apple 信義 A13」搶先看
蘋果台灣旗艦店「Apple 信義 A13」搶先看

日前以「創意在此登台」預告即將開幕的蘋果台灣首間旗艦店「Apple 信義 A13」,確認將於 6 月 15 日正式啟用之後,稍早也率先開放媒體搶先預覽內部陳設。 「Apple 信義 A13」是蘋果在全球地區第 506 家店,同時也是大中華地區第 52 家店,更成為台灣地區第二家蘋果直營店,並且

日期:2019-06-13 人氣:5987
蘋果有意收購Intel德國通訊業務團隊 強化晶片研發能力
蘋果有意收購Intel德國通訊業務團隊 強化晶片研發能力

雖然與 Qualcomm 在數據晶片合作方面達成和解,但蘋果依然計畫打造自有數據晶片產品,甚至可能計畫藉由收購 Intel 通訊相關業務加快本身技術發展。根據 The Information 網站引述消息人士表示,蘋果計畫從 Intel 手中收購部分通訊相關業務,預期藉此強化本身數據晶片設計

日期:2019-06-12 人氣:2781
iOS 13 Beta版疑洩 iPhone可能改用Type-C規格
iOS 13 Beta版疑洩 iPhone可能改用Type-C規格

蘋果在 2012 年於 Apple iPhone 5、iPod Touch 與 iPod nano 等產品開始導入 Lightning 傳輸埠,後續多年也都延用這項規格推出產品;在不少運行 Android 作業系統的智慧型手機與平版電腦陸續啟用 USB Type-C 傳輸埠後,蘋果傳出將會選擇這項技

日期:2019-06-12 人氣:7498
[觀點]WWDC 2019三大重點:簡化、獨立與融合
[觀點]WWDC 2019三大重點:簡化、獨立與融合

此次 WWDC 2019 中,蘋果除了宣布更新旗下 iOS 13、macOS 10.15 Catalina、watchOS 6,以及 tvOS 13,並且針對開發者需求釋出不少工具資源,其中不少更新圍繞在「簡化」、「獨立」與「融合」三個面向。 其中,在 iOS 作業系統再次額外劃分對應大尺寸螢

日期:2019-06-10 人氣:5982
蘋果審核規範放寬對Screen Time功能相近App限制
蘋果審核規範放寬對Screen Time功能相近App限制

或許是先前以隱私問題限制與「Screen Time」功能相近app的情況引來不少爭議,蘋果稍早在 WWDC 2019 其間釋出的新版 App Store 審核規範將放寬行動裝置管理(MDM,Mobile Device Management)技術,以及 VPN 使用限制。MacRumors 論

日期:2019-06-10 人氣:2638
開發者在iOS 13預覽版發現疑似準備推出的定位配件
開發者在iOS 13預覽版發現疑似準備推出的定位配件

先前傳聞將與新版「Find My」一同亮相的定位追蹤配件,雖然並未在此次 WWDC 2019 期間亮相,但似乎仍有機會在接下來的秋季發表會上亮相。 從開發者 Steve Moser 在剛剛釋出的 iOS 13 前期預覽版本,發現「Tag1,1」的描述,若以蘋果過往產品硬體代號命名方式,或許就是

日期:2019-06-06 人氣:4080
台灣首間蘋果旗艦店 Apple 信義 A13將於6/15開幕
台灣首間蘋果旗艦店 Apple 信義 A13將於6/15開幕

蘋果稍早確認將於 6 月 15 日正式啟用台灣首間旗艦店「Apple 信義 A13」,並且了確認將從當天開始推行「創意在此登台」系列 Today at Apple 課程,其中包含由金曲獎最佳女歌手艾怡良、知名插畫家當肯、攝影大師蘇益良、自然傳藝家范承宗、南瓜妮歌迷俱樂部等創作者,將親身分享創作心得技

日期:2019-06-05 人氣:5082
iOS 13加入黑暗模式 加強Siri等多項功能
iOS 13加入黑暗模式 加強Siri等多項功能

此次 iOS 13 更新重點同樣放在整體運作速度提昇,並且減少漏洞錯誤問題,操作介面也終於如先前暗示加入黑暗模式,藉此間接提高 iOS 裝置電池續航時間,而在關閉 app 與切換多工操作時的動畫效果也會改變。根據蘋果說明,新版 iOS 13 相比前一版本分別在 Face ID 解鎖速

日期:2019-06-04 人氣:7185
蘋果可折疊螢幕裝置專利亮相 2種凹折設計方向
蘋果可折疊螢幕裝置專利亮相 2種凹折設計方向

近兩年在智慧手機廠商之間颳起的可折疊螢幕裝置風潮,在 Android 陣營已可看到包括三星、華為等品牌都陸續推出旗下首款可折疊螢幕手機產品,蘋果則是是一直處於只聞樓梯響的狀況,但從近幾年蘋果所申請的專利來看,他們並未放棄可折疊螢幕設計方向。美國專利商標局(USPTO)日前(5/28)再次通過蘋果申請

日期:2019-06-03 人氣:4220
矩型鏡頭模組確定?新iPhone手機殼疑曝光
矩型鏡頭模組確定?新iPhone手機殼疑曝光

據傳 2019 年新版 Apple iPhone 將把主相機模組改為矩型設計。稍早國外網站 9to5Mac 宣稱取得 iPhone XS、XS Max、XR 等產品後續機種的專用保護殼,並拿前一代產品裝進保護殼當中,確認幾項新 iPhone 多項外型調整。其中驗證傳聞 2019 年版新 iPhone

日期:2019-06-03 人氣:6948
iOS 13疑洩2019年iPhone規格 多方位提升使用體驗
iOS 13疑洩2019年iPhone規格 多方位提升使用體驗

雖然距離新一代 Apple iPhone 預估發表日程還有一段時間,但網路上已有不少產品資訊流傳。近日 YouTube 頻道 EverythingApplePro 指出,從 iOS 13 作業系統中發現 2019 年版 iPhone 功能與特色,新 iPhone 將延續 iPhone XS、XS M

日期:2019-05-27 人氣:19082
2019年版iPhone疑似通過認證 11個型號曝光
2019年版iPhone疑似通過認證 11個型號曝光

蘋果可能將於今年第三季推出 iPhone 新機,稍早出現在歐亞經濟委員會資料庫,蘋果註冊新機曝光的型號包括 A2111、A2160、A2161、A2215、A2216、A2217、A2218、A2220、A2221、A2223 等 11 個新版 iPhone 型號,型號數量與 2018 年 iPho

日期:2019-05-24 人氣:26221
iOS 13即將推出?蘋果WWDC 2019活動6月登場
iOS 13即將推出?蘋果WWDC 2019活動6月登場

蘋果日前公布將於 6/3-6/7 期間舉行 WWDC 2019 開發者大會,稍早已經寄發活動邀請函給媒體,確認 Keynote 主題演講將於美國時間 6/3 上午 10 點、在加州聖荷西市 McEnery 會議中心舉行。關於 WWDC 2019 開發者大會將會推出什麼產品,目前還沒有詳細資訊流出,但

日期:2019-05-24 人氣:6387
蘋果將開放iPhone NFC功能 讓使用者更快完成付費
蘋果將開放iPhone NFC功能 讓使用者更快完成付費

稍早已經有消息指出蘋果計畫在今年的 WWDC 2019 宣布開放 iPhone 機種 NFC 感應功能,讓使用者能透過 iPhone 更方便完成身分識別、乘車及付款等應用,而在稍早於美國拉斯維加斯舉辦的 TRANSACT 大會上,蘋果 Apple Pay 副總裁 Jennifer Bailey 證實

日期:2019-05-15 人氣:7709
傳台積電為蘋果量產A13處理器 預計用於秋季新機
傳台積電為蘋果量產A13處理器 預計用於秋季新機

彭博新聞引述消息來源指出,台積電預計會在近期內開始量產蘋果 A13 處理器,預期同樣會採用 7nm FinFET 製程技術,並且維持處理器能以更小體積佔比使用,同時發揮更高運算表現與低耗電使用特性。現階段還無法確認 A13 處理器預計採用架構設計,但預期將比照 A11 Bionic 或 A1

日期:2019-05-13 人氣:3973
iPhone XR後續機種外型疑洩 傳採用方形相機設計
iPhone XR後續機種外型疑洩 傳採用方形相機設計

傳聞 2019 年版 Apple iPhone 在機身設計上不會有太大變動,預期最明顯的調整將會在主相機模組外型;最新消息指出,為了因應三鏡頭規格配置,包括雙鏡頭版本在內,全系列主相機區塊都將改成方形設計。稍早,科技部落客 OnLeaks 攜手國外網站 Pricebaba 攜手模擬出 iPhone

日期:2019-05-10 人氣:9673
比遠更比黑!極限拍照挑戰華為P30 Pro、三星S10+、XS Max
比遠更比黑!極限拍照挑戰華為P30 Pro、三星S10+、XS Max

旗艦手機相機功能日益進步,除了能拍得更廣、更近之外,夜晚還能拍得清晰,對於消費者來說,只需要一台手機就能應付日常的拍攝,這次我們找來了市面上最具話題性、規格最強悍的三款手機,分別是 HUAWEI P30 Pro、SAMSUNG Galaxy S10+ 與 Apple iPhone XS Max,三款

日期:2019-05-09 人氣:20362
新款iPhone傳將採用全新材質提升天線收訊
新款iPhone傳將採用全新材質提升天線收訊

就在 Android 陣營手機產品先後改善天線設計,部分針對遊戲打造的手機更強調收訊不掉速特性,反觀蘋果在 iPhone 系列機種的天線設計則是經常被拿來做比較。不過,顯然蘋果計畫在今年秋季準備推出的 iPhone 新機將會採用全新天線設計,預期將會改善收訊效果。依照天風證券分析師郭明錤從產

日期:2019-05-07 人氣:6897
Apple Pay可能支援模擬更多交通卡功能的信用卡
Apple Pay可能支援模擬更多交通卡功能的信用卡

日前透露蘋果將向開發者開放支援 ISO 7816 規範智慧卡片格式,其中包含對應由 Sony 提出的 FeliCa 非接觸式 IC 卡技術,以及由恩智浦提出 MiFare 非接觸式 IC 卡技術的智慧卡模擬功能,稍早更有消息發現 iOS 12.3 程式編碼中發現增加支援 EMV 晶片卡 (IC 卡)

日期:2019-05-07 人氣:4138
iOS 13將借鏡更多第三方App功能 5G連網要等明年
iOS 13將借鏡更多第三方App功能 5G連網要等明年

過去經常透露蘋果新產品動態的彭博新聞,這次再度從消息來源取得預計會在 WWDC 2019 期間揭曉的 iOS 13、macOS 10.15,以及 watchOS 6 作業系統具體細節,其中新版 iOS 13 代號將是「Yukon」,更新重點包含提昇整體運作速度,並且減少漏洞錯誤問題,操作介面也將會有

日期:2019-05-07 人氣:4080
iPhone依然為蘋果帶來最高收入 5G未透露推行時間
iPhone依然為蘋果帶來最高收入 5G未透露推行時間

蘋果稍早公布 2019 財年第二季財報結果,顯示營收達 580.15 億美元,相比去年同期的 611.37 億美元下滑 5%,其中產品銷售營收達 465.65 億美元,而在服務營收則達 114.50 億美元,顯示服務營收成長幅度再次增加。 如同先前說明,蘋果不再對外公布各項產品實際銷量,但仍維

日期:2019-05-02 人氣:2404
外型設計確認?2019年版iPhone模型機與模擬圖曝光
外型設計確認?2019年版iPhone模型機與模擬圖曝光

傳聞 2019 年預計推出的 Apple iPhone 將維持三款的策略,除了處理器等細節規格有所升級,其中 iPhone XS、XS Max 後續機種也傳出可能搭載三鏡頭主相機。日本網站 MACお宝鑑定団blog(羅針盤)稍早宣稱取得 2019 年版 iPhone 的 3D 列印模型機,以及機身數

日期:2019-04-26 人氣:39926
iPhone支援悠遊卡? 傳蘋果將加入MiFare非接觸式IC卡技術
iPhone支援悠遊卡? 傳蘋果將加入MiFare非接觸式IC卡技術

隨著蘋果在 WWDC 2017 透露將於日後對外開放 Core NFC 功能,藉此讓開發者能運用 iPhone 或 Apple Watch 內建 NFC 對應更多近場感應功能,而預期在 6 月即將登場的 WWDC 2019 期間揭曉更多細節。目前開發者僅能存取 iPhone 或 Apple

日期:2019-04-25 人氣:5525
新iPhone傳有12MP前鏡頭 2020年可能推改版款iPhone 8
新iPhone傳有12MP前鏡頭 2020年可能推改版款iPhone 8

天風國際分析師郭明錤日前曾預測 2019 年版 Apple iPhone 將維持三種尺寸策略,並新增反向無線充電。稍早,郭明錤再次提出新的分析報告,其中表示 Apple iPhone XS、XS Max、XR 後繼機種將強調期攝錄體驗進步,其中前鏡頭將從 700 萬畫素提升為 1,200 萬畫素,並

日期:2019-04-19 人氣:27889
蘋果傳將Find My iPhone改為app 同時打造定位追蹤配件
蘋果傳將Find My iPhone改為app 同時打造定位追蹤配件

相關消息指出,蘋果可能計畫將 Find My iPhone 功能與 Find My Friends 功能整合,同時也準備推出一款類似 Tile 般的定位追蹤配件。依照 9to5Mac 網站取得消息,蘋果有可能將 Find My iPhone 與 Find My Friends 兩項功能合併,

日期:2019-04-19 人氣:3157
蘋果與高通大和解 Intel退出手機5G手機數據晶片市場
蘋果與高通大和解 Intel退出手機5G手機數據晶片市場

蘋果(Apple)與高通(Qualcomm)之間纏鬥多時的訴訟大戰,終於落幕。高通與蘋果稍早發出聲明表示,雙方達成和解協議,互相撤銷在全球所有的訴訟案件,且蘋果將向高通支付一筆使用費用;雙方也將簽訂一份長達 6 年、可展延 2 年的技術許可授權合約,這份合約從今年 4/1 起生效,還簽訂另一份讓蘋果

日期:2019-04-17 人氣:5914
影響5G版iPhone推出?Intel稱數據機晶片2020年如期交付給客戶
影響5G版iPhone推出?Intel稱數據機晶片2020年如期交付給客戶

蘋果在 2016 年推出的 iPhone 7 採用高通、Intel 雙版本數據機晶片,後續進一步在 iPhone XS 系列全面使用 Intel 提供的產品;傳聞 5G 版本 iPhone 也將使用 Intel 打造的 5G 數據機晶片,新機將在 2020 年 9 月推出。但近日瑞士銀行分析師 Ti

日期:2019-04-10 人氣:5397
iPhone XS後續機種傳增加電量 明年可能調整螢幕尺寸
iPhone XS後續機種傳增加電量 明年可能調整螢幕尺寸

蘋果預期將依照過往慣例,於今年秋季發表 Apple iPhone XS 系列與 iPhone XR 後續機。傳聞新機大致延續前代 5.8 吋、6.5 吋 OLED 螢幕與 6.1 吋 LCD 螢幕規格,改用更新的 A13 處理器,加入新功能。天風國際分析師郭明錤在日前公布的分析報告中曾指出,新款 i

日期:2019-04-03 人氣:14567
傳新iPhone搭載雙向無線充電 可幫AirPods補充電力
傳新iPhone搭載雙向無線充電 可幫AirPods補充電力

關於今年預期在秋季更新的新款 iPhone,天風國際分析師郭明錤稍早在報告中指出將可能加入雙向無線充電設計,亦即可比照華為 P30 Pro 或三星 Galaxy S10+ 一樣提供反向無線充電功能。郭明錤的分析論述源自新款無線充電模組、電池板、電池模組,以及包含充電控制晶片與加壓晶片供貨表現

日期:2019-04-02 人氣:5756
新iPhone機殼設計圖版疑洩三鏡頭設計 專利曝水下攝錄功能
新iPhone機殼設計圖版疑洩三鏡頭設計 專利曝水下攝錄功能

雖然離下一代 Apple iPhone 正式發表還有很長一段時間,但相關傳聞持續曝光。近期有消息指出,512GB 頂規版本 Apple iPhone XS 與 iPhone XS Max 後續機種都將採用三鏡頭主相機規格,除原有廣角與長焦雙鏡頭,再加入 3D ToF 飛時測距鏡頭,三鏡頭與補光燈和感

日期:2019-03-29 人氣:10129
2019年iPhone傳支援反向無線充電、18W快充
2019年iPhone傳支援反向無線充電、18W快充

近期包括 HUAWEI Mate 20 Pro 與 SAMSUNG Galaxy S10 系列等旗艦手機,在原有無線充電技術基礎上,紛紛加入無線電力分享功能;外傳,下一代新 iPhone 也將會擁有類似功能。天風國際分析師郭明錤曾於 2 月公布的分析報告中提到,2019 年版 iPhone 全系列將

日期:2019-03-24 人氣:37657
隨春季發表會將近 蘋果推新色設計錶帶和保護殼
隨春季發表會將近 蘋果推新色設計錶帶和保護殼

顯然蘋果計畫讓春季發表會內容聚焦在全新訂閱服務內容,因此近期接連公佈新款 iPad Air、iPad mini、iMac 與 AirPods 等配件,而稍早也宣布推出換上新色的全新 Apple Watch 錶帶配件,以及對應 iPhone 系列機種使用的全新保護殼配色。此次更新配色,其實也與

日期:2019-03-21 人氣:4750
提供意外損傷保固服務 AppleCare+終於進駐台灣
提供意外損傷保固服務 AppleCare+終於進駐台灣

原本計畫與台北 101 直營店一同進駐台灣,後續卻被金管會以「有違保險法的疑慮」為由擋下的 AppleCare+ 服務專案,稍早終於順利進入台灣市場,將可針對蘋果產品硬體延長保固時間,並且在保固期間內提供兩次意外損壞的保固服務。與先前已經在台提供的 AppleCare 保固服務最大差別,透過

日期:2019-03-20 人氣:5736
512GB版本才有?雙尺寸新iPhone傳有三鏡頭相機
512GB版本才有?雙尺寸新iPhone傳有三鏡頭相機

蘋果 2018 年推出的 Apple iPhone XS 系列,儲存空間提升至 512GB;最新消息指出,2019 年版新 iPhone 為了提升最高儲存空間的銷售優勢,將調整部分設計。日本網站 MAC お宝鑑定団 blog 號稱取得中國配件供應商資訊,指出 2019 年版 Apple iPhone

日期:2019-03-18 人氣:13723
蘋果WWDC 2019大會6/3舉行 iOS 13深色模式暗示上線
蘋果WWDC 2019大會6/3舉行 iOS 13深色模式暗示上線

蘋果稍早宣布 WWDC 2019 開發者大會將於 6/3-6/7 在加州聖荷西市 McEnery 會議中心舉行,本次主題設定為「Write code. Blow minds.」,預期將會發表新 iOS、macOS、watchOS、tvOS 等作業系統版本,另傳出有可能還有包括 10.7 吋新 iPa

日期:2019-03-15 人氣:10808
更具質感、購機保障與環保的iPhone整新機[MWC 2019]
更具質感、購機保障與環保的iPhone整新機[MWC 2019]

在此次 MWC 2019 期間,創立於 2013 年、目前累積達 700 名員工規模的法國公司 Remade 集團,展示旗下藉由收購、回收二手 iPhone 及相關零件,透過本身技術進行修復、組裝,並且重新換上機身配色與包裝,藉此讓原本無法再使用的舊機能「重獲生命」,藉此實現降低環境污染等影響,同時

日期:2019-03-06 人氣:6482
分析師預測新Mac Pro將推出  iPhone仍用Lightning介面
分析師預測新Mac Pro將推出 iPhone仍用Lightning介面

轉任天風國際分析師郭明錤稍早在報告中指出蘋果在今年內可能更新產品,其中分別涵蓋新款 iPhone、iPad 與 MacBook Pro 產品更新,同時也認為蘋果新款 Mac Pro 將會在今年內推出,而包含 iPad mini、iPod touch 也會在今年推出更新版本,先前始終未能上市的無線充電

日期:2019-02-20 人氣:4498
傳蘋果將在中國推出紅色iPhone XS
傳蘋果將在中國推出紅色iPhone XS

去年宣布推出 iPhone XS 系列與 iPhone XR 時,蘋果僅在搭配多彩設計的 iPhone XR 提供 PRODUCT(RED) 紅色款式,但稍早相關消息指稱,為了進一步拉抬 iPhone 整體銷量,蘋果計畫再推出同樣以PRODUCT(RED)形式打造的紅色款 iPhone XS 系列機

日期:2019-02-18 人氣:4764
支援無線充電!蘋果推出iPhone XS與XR適用的電池保護殼
支援無線充電!蘋果推出iPhone XS與XR適用的電池保護殼

針對 iPhone XS 系列與 iPhone XR 的電力續航需求,蘋果終於推出原廠電池保護殼,雖然外型設計一樣在背蓋呈現明顯隆起狀,但額外加入支援 Qi 無線充電功能,讓使用者可直接放在同樣支援 Qi 規格的無線充電板補充電力。 相比先前針對 iPhone X 等機種推出的電池保護

日期:2019-01-17 人氣:7177
2019版iPhone傳最高有3鏡頭 XR後繼者沿用LCD螢幕
2019版iPhone傳最高有3鏡頭 XR後繼者沿用LCD螢幕

在 2018 年推出的 Apple iPhone XS 系列上,沿用了前一年推出的 iPhone X 設計,採用「瀏海」螢幕與後置雙鏡頭相機,同時發表推出單鏡頭主相機的 iPhone XR。最新消息指出,2019 年版 Apple iPhone 全系列螢幕將會維持「瀏海」設計,但相機模組會多一個鏡頭

日期:2019-01-14 人氣:7211
iPhone XS Max與XR三大電信方案購機短期降價
iPhone XS Max與XR三大電信方案購機短期降價

蘋果 iPhone 新年降價促銷,想購買新機或搭配資費方案的消費者可以留意。中華電信、遠傳電信與台灣大哥大先後宣布推出 iPhone XS Max 與 iPhone XR 加碼優惠活動,即日起至 2/28 止,凡新申辦、攜碼或續約指定方案,可享最高現折 4,000 元等優惠。另外,遠傳電信還祭出單機

日期:2019-01-03 人氣:49501
iPhone銷量和美元匯率影響 蘋果下修2019營收
iPhone銷量和美元匯率影響 蘋果下修2019營收

在稍早致信給投資者信件中,蘋果執行長 Tim Cook 除了透露將於美國西岸時間 1 月 29 日公布新一季財報結果,更預告 2019 財年第一季營收結果將下修為 840 億美元,相比先前預測將達 890 億 - 930 億美元的營收表現更低,其中影響因素包含 iPhone 系列機種在中國地區銷售表

日期:2019-01-03 人氣:3540
iOS 12.1.2系統有問題?傳升級會讓iPhone沒訊號
iOS 12.1.2系統有問題?傳升級會讓iPhone沒訊號

蘋果上周釋出最新作業系統 iOS 12.1.2 的版本更新,其中修正 iPhone XS、iPhone XS Max、iPhone XR 等機種的 eSIM 服務的啟動問題,與前述機種於土耳其地區的出現無網路服務狀況。但是,更新剛過一周就傳出新的系統更新反而造成更多機種都出現無法使用網路的問題,且包

日期:2018-12-24 人氣:9690
台灣11月手機銷量 SAMSUNG A7安卓賣最好 華為重返前五大
台灣11月手機銷量 SAMSUNG A7安卓賣最好 華為重返前五大

根據市調機構最新統計,2018 年 11 月台灣手機銷售量 61.8 萬部,較上個月減少 2.3 萬部,與去年同期相比減少 3.1 萬部,終止連續四個月的成長走勢。蘋果依舊是銷售量、銷售額冠軍,前十款手機超過半數是 iPhone,Android 陣營則是三鏡頭的 SAMSUNG Galaxy A7

日期:2018-12-21 人氣:30983
德誼數位推iPhone XS Max年底耶誕優惠
德誼數位推iPhone XS Max年底耶誕優惠

德誼數位今日(12/19)宣布,全台門市「耶誕嘉年華」起跑,即日起至 12 月 31 日前,於德誼數位門市購買 Apple iPhone XS Max 256GB 現折 1,212 元,或享無線充電盤加購價 2,000 元折抵金優惠二選一,購買 iPhone XR 128GB「黑色版」,就送指定無線

日期:2018-12-19 人氣:11574
蘋果藉iOS 12.1.2避開侵權 eSIM無法啟動問題修正
蘋果藉iOS 12.1.2避開侵權 eSIM無法啟動問題修正

日前透露將釋出新版更新內容,藉此避開 Qualcomm 提告侵權問題之後,蘋果稍早釋出新版 iOS 12.1.2 版本更新。除此之外,蘋果也透過此次更新,修正先前美國電信業者反應 eSIM 無法正常啟動問題。 在此次更新中,蘋果主要針對 Qualcomm 反應侵權部分作了調整,但目前此

日期:2018-12-19 人氣:2996
蘋果可能在新iPhone採用螢幕下指紋解鎖
蘋果可能在新iPhone採用螢幕下指紋解鎖

在近期更新中,蘋果已經在新款 iPad Pro 移除 Touch ID 設計,取而代之的是更窄邊框設計與 Face ID 臉部識別應用,加上秋季宣布更新的 iPhone XS 系列與 iPhone XR,除了上半年推出支援 Apple Pencil 的新款 9.7 吋 iPad,所有 iOS 裝置均

日期:2018-12-05 人氣:11495
兩強旗艦手機對決HUAWEI Mate 20 Pro vs iPhone XS Max
兩強旗艦手機對決HUAWEI Mate 20 Pro vs iPhone XS Max

HUAWEI 新一代旗艦手機 Mate 20 Pro 正式發表後,在網路上引起不小的討論,搭載了 Kirin 980 處理器,強調 AI 運算與性能全面提升,全新的矩陣多焦影像系統,加入 16mm 徠卡超廣角鏡頭,搭配上廣角與 3 倍長焦的三鏡頭組合,還首次搭載 40W 超級快充技術與無線反向充電功

日期:2018-12-02 人氣:43114
Google虛擬電信改名Google Fi 相容手機加入iPhone
Google虛擬電信改名Google Fi 相容手機加入iPhone

如先前傳出消息,Google 不但確定旗下虛擬電信服務 Project Fi 將把蘋果 iPhone 列入友善支援機種名單,更正式針對 iOS 平台推出專屬 app,同時也讓此項虛擬電信服務自即日起啟用正式名稱-Google Fi,並且讓更多 Android 手機能更加完整相容此項虛擬電信服務。

日期:2018-11-30 人氣:5759
新iPhone可能有極光漸變造型背蓋設計
新iPhone可能有極光漸變造型背蓋設計

隨著華為、OPPO、vivo 在內中國品牌陸續在手機產品加入極光漸變的外觀設計,就連三星也開始將漸變色彩應用在旗下 Galaxy A 系列機種之後,或許蘋果有也計畫將此類設計應用在未來準備推出的新款 iPhone。根據蘋果先前遞交申請專利,顯示將可能將在未來推出的新款 iPhone

日期:2018-11-26 人氣:3693
iPhone XS與XR的eSIM連網問題 12月釋更新修正
iPhone XS與XR的eSIM連網問題 12月釋更新修正

先前因為韌體問題,導致初期在美國由 AT&T、Verizon 與 T-Mobile 在內電信業者開放的 eSIM 服務,僅能在 iPhone XS 系列及 iPhone XR 的 eSIM 功能啟用 2G 連網模式,同時必須將實體 SIM 卡設置為主要使用門號才能正常運作,造成電信業者延後提

日期:2018-11-23 人氣:5830
留下一顆痣!蘋果手機新專利在螢幕面板上挖洞放鏡頭
留下一顆痣!蘋果手機新專利在螢幕面板上挖洞放鏡頭

蘋果在 2017 年推出的 iPhone X 啟用「瀏海」螢幕,讓螢幕佔比一舉提升到 82.9%;今年發表的 iPhone XS Max 也是沿用相同螢幕,其螢幕佔比更是拉高至 84.4%。近日傳出蘋果考慮調整前鏡頭與面板設計,增加螢幕佔比。美國專利商標局(USPTO)近日(11/8)通過蘋果一項取

日期:2018-11-14 人氣:17865
亞太、中華與遠傳相繼啟用 eSIM服務大哉問
亞太、中華與遠傳相繼啟用 eSIM服務大哉問

在亞太電信稍早率先宣布在台啟用對應 iPhone XR、iPhone XS 系列機種使用的 eSIM 服務後,遠傳、中華稍早也宣布將分別在 11 月 15 日與 11 月 2 日起,開放旗下電信資費方案用戶透過實體門市以雙證件申辦,而亞太電信則預計在 11 月 9 日開放申辦,至於台灣大哥大目前尚未

日期:2018-11-01 人氣:7579
亞太、中華與遠傳電信iPhone eSIM服務啟用 XS與XR系列支援
亞太、中華與遠傳電信iPhone eSIM服務啟用 XS與XR系列支援

蘋果新推出的 iPhone XS、iPhone XS Max 與 iPhone XR 首度支援雙卡雙待,台灣上市版本採用 eSIM 再加一張實體 SIM 卡;不過,由於部分電信業者針對 iPhone 的 eSIM 服務尚未啟動,目前仍只能使用單一卡槽。亞太電信、中華電信、遠傳電信先後宣布針對 iPh

日期:2018-10-31 人氣:25240
iOS 12.1系統上線 iPhone 6S到XS可群組FaceTime視訊
iOS 12.1系統上線 iPhone 6S到XS可群組FaceTime視訊

蘋果稍早釋出 iOS 12.1 與 watchOS 5.1 兩個作業系統更新,除了修正錯誤,還推出名為「Group FaceTime」的群組視訊聊天功能。Group FaceTime 功能開放升級到 iOS 12.1 系統的 iPhone 6S、iPhone 6S Plus、iPhone 7、iPh

日期:2018-10-31 人氣:6253
安兔兔公布iPhone XS Max效能表現 34萬分力壓群雄
安兔兔公布iPhone XS Max效能表現 34萬分力壓群雄

Apple iPhone XS 與 iPhone XS Max 開賣滿一個月,另款新品 iPhone XR 也即將上市。3 款蘋果新機皆配置 7nm 工藝技術的 A12 Bionic 六核心處理器,以 2 個效能核心負責繁重的運算作業、4 個節能核心關注一般日常工作,在不同的使用情境下,調配核心運作

日期:2018-10-22 人氣:12152
蘋果可折式裝置新專利亮相 柔性螢幕最多折兩次
蘋果可折式裝置新專利亮相 柔性螢幕最多折兩次

使用可撓式柔性螢幕的可折疊手機被認為是未來智慧型手機發展趨勢之一,不少手機廠商也都曾陸續發現申請相關專利。美國專利商標局(USPTO)通過蘋果一項名為「Flexible display device(柔性螢幕裝置)」新專利,其中專利圖片顯示機身凹折處透過鉸鍊設計進行連結,搭配柔性螢幕即可提供凹折功能

日期:2018-10-17 人氣:12608
[觀點]Google單鏡頭與其他手機的多鏡頭設計哪種好?
[觀點]Google單鏡頭與其他手機的多鏡頭設計哪種好?

從此次 Pixel 3 系列相機設計來看,可以明顯看出 Google 依然偏重以人工智慧技術滿足絕大部分的拍攝需求,但相比其他合作廠商多半採用雙鏡頭以上設計,甚至三星稍早推出的 2018 年款 Galaxy A9 更搭載 4 鏡頭設計。那麼,手機鏡頭究竟是多好,還是像 Google 認為以人工智慧彌

日期:2018-10-16 人氣:9138
Facebook開放照片轉3D影像功能 僅支援部分雙鏡頭手機
Facebook開放照片轉3D影像功能 僅支援部分雙鏡頭手機

今年在 F8 開發者大會上公布的 2D 轉 3D 照片技術,Facebook 稍早宣布將陸續開放給部分使用者進行測試,預計之後將會開放給所有使用者體驗。目前此項功能將先開放 iPhone 7 Plus、iPhone 8 Plus,以及 iPhone X、iPhone XS 系列等機種

日期:2018-10-15 人氣:13594
iPhone XS手機再傳新狀況?前喇叭放音樂會突然無聲
iPhone XS手機再傳新狀況?前喇叭放音樂會突然無聲

全球開賣兩周的蘋果手機 iPhone XS 與 iPhone XS Max,繼日前傳出充電有問題之後,近期再爆喇叭會突然消音,也傳出無法正常連結車用娛樂系統。國外論壇 Reddit、iMore,以及蘋果支援社區等,出現不少使用者反應指出,透過 iPhone XS、iPhone XS Max 機身喇叭

日期:2018-10-08 人氣:6783
誰比較好?iPhone XS、XS Max與XR怎麼挑選
誰比較好?iPhone XS、XS Max與XR怎麼挑選

先前稍微討論了今年推出的iPhone XS系列機種定價策略,在iPhone XR預計在10月下旬準備開放銷售之前,筆者再以iPhone XS、iPhone XS Max的新機特色,對比即將推出的iPhone XR,來看看蘋果今年推出的三款新機應該怎麼挑選比較好。 產品售價與硬體規格

日期:2018-10-08 人氣:55570
iPhone XS系列首週銷售表現比iPhone 8系列更好
iPhone XS系列首週銷售表現比iPhone 8系列更好

即便發表時遭人批評售價太貴,但 iPhone XS 與 iPhone XS Max 敵破市場顯然在開放銷售首週表現,相比去年率先上市的 iPhone 8 與 iPhone 8 Plus 有更好表現。 就第三方市調機構 Flurry 統計數據顯示,iPhone XS 與 iPhone X

日期:2018-10-08 人氣:6869
iPhone XS Max暫居DxOMark第二 表現落後華為P20 Pro
iPhone XS Max暫居DxOMark第二 表現落後華為P20 Pro

Apple iPhone XS 與 iPhone XS Max 兩款蘋果新機已在全球開賣,不少評測單位也針對兩款新 iPhone 進行各種測試。國外網站 DxOMark 稍早公佈 iPhone XS Max 的攝錄功力評比,總分獲得 105 分,排名僅次於 HUAWI P20 Pro。DxOMark

日期:2018-10-05 人氣:5769
iOS 12充電有問題?iPhone XS與XS Max傳出沒喚醒螢幕無法充電
iOS 12充電有問題?iPhone XS與XS Max傳出沒喚醒螢幕無法充電

隨著蘋果 2018 秋季新品表會落幕,包括 iOS 12、watchOS 5、tvOS 12 等作業系統也釋出升級。近日國外傳出,出廠時就安裝 iOS 12 作業系統的 Apple iPhone XS 與 iPhone XS Max 有充電問題,甚至部分升級 iOS 12 系統的舊款 iPhone

日期:2018-10-04 人氣:12690
iPhone XS與XS Max電池續航力表現不如前代
iPhone XS與XS Max電池續航力表現不如前代

Apple iPhone XS、iPhone XS Max 兩款蘋果新機已在台灣等全球市場上市,各項測試陸續出爐。國外網站 GSMArena 依照慣例也針對新機進行續航力測試,其中擁有 2,658mAh 電量的 iPhone XS 續航表現為 72 小時,比前代 iPhone X 的 74 小時續航

日期:2018-10-04 人氣:13655
換Intel通訊晶片的iPhone XS表現較弱? 測試數據比一比
換Intel通訊晶片的iPhone XS表現較弱? 測試數據比一比

蘋果在今年推出的 iPhone XS 與 iPhone XS Max 均採用 Intel 所提供 LTE 連網數據晶片 XMM7560,其中對應全美全頻段網路連接功能,同時也對應全球各地區多數電信業者使用網路頻段,而為了驗證 Qualcomm 強調本身所提供 X20 LTE 連網數據晶片仍有最好連網

日期:2018-10-03 人氣:14199
高通指蘋果以軟體協助Intel改善數據通訊晶片
高通指蘋果以軟體協助Intel改善數據通訊晶片

由於先前在法庭訴訟爭執不下,蘋果在今年推出的 iPhone XS 系列機種均採用 Intel 提供數據通訊晶片,而 Qualcomm 稍早則是提出全新指控,表示蘋果藉由 Qualcomm 所提供軟體工具協助 Intel 改善數據通訊晶片效能,違反原本雙方合作資源使用協議,將對此要求營收損失賠償。

日期:2018-09-26 人氣:4545
與高通交惡 iPhone XS、XS Max採用Intel數據晶片
與高通交惡 iPhone XS、XS Max採用Intel數據晶片

新款 iPhopne XS 系列上市後,iFixit 網站很快地也個別針對兩款新機進行拆解,其中發現尺寸與 iPhone X 維持相同 5.8 吋螢幕設計的 iPhone XS,採用新設計的L字狀單片電池元件,但電池容量相比 iPhone X 略少,而 iPhone XS Max 則維持採用雙片電池

日期:2018-09-25 人氣:13646
iPhone XS未來可讓用戶拍照時決定對焦距離
iPhone XS未來可讓用戶拍照時決定對焦距離

針對 iPhone XS 系列拍照功能加入後續手動調整對焦距離選項,蘋果有可能在未來拍照功能讓 iPhone XS 直接在拍照過程即可手動調整對焦距離,藉此即時呈現最佳散景表現效果。雖然蘋果在 iPhone XS 內加入後續手動調整對焦距離選項,被不少 Androiud 陣營用戶譏笑

日期:2018-09-25 人氣:5263
iPhone Xs和Xs Max開賣 Apple Watch series 4要再等等
iPhone Xs和Xs Max開賣 Apple Watch series 4要再等等

蘋果稍早宣布開放首波上市國家地區銷售新款 iPhone Xs、iPhone Xs Max,而加入 ECG 心電圖功能、錶面重新打造的全新 Apple Watch series 4 則是在美國、日本等首波上市國家地區開放銷售。 iPhone Xs 系列均採用運算效能更高的 A12 Bio

日期:2018-09-21 人氣:7461
蘋果iPhone Xs拆解 電量比iPhone X還少
蘋果iPhone Xs拆解 電量比iPhone X還少

Apple iPhone Xs、Xs Max 今日(9/21)正式開賣。稍早,國外網站 FixjeiPhone 取得 5.8 吋的 Apple iPhone Xs 進行拆機、檢視內部設計,並與前一代 iPhone X 進行比較。Apple iPhone Xs 內部元件配置與前代幾乎一致,肉眼可看出最

日期:2018-09-21 人氣:23879
iOS 12.1將加入Face ID橫向解鎖  watchOS新增心電圖功能
iOS 12.1將加入Face ID橫向解鎖 watchOS新增心電圖功能

稍早釋出 iOS 12、watchOS 5.0 正式版本後,蘋果隨即向開發者釋出 iOS 12.1 beta 1、watchOS 5.1 beta 1,以及 tvOS 12.1 beta 1 版本,其中在 iOS 12.1 beta 1 中加入 Face ID 橫向識別模式,而在 watchOS 5

日期:2018-09-19 人氣:7385
蘋果新塗層設計專利 提升金屬邊框耐刮和耐凹能力
蘋果新塗層設計專利 提升金屬邊框耐刮和耐凹能力

蘋果從 2016 年發表的 iPhone 7 系列起,機身就加入 IP67 防水防塵等級,剛發表的 iPhone XS 系列更是號稱採用歷來最堅固的玻璃材質,搭配精準成形的醫療級特製不鏽鋼邊框進行密封,讓防護能力提升至 IP68。機身防水能力提升的同時,其耐磨、耐凹性也是蘋果關注重點之一。日前美國專

日期:2018-09-17 人氣:6736
台灣銷售的iPhone XS與XR將採SIM卡+eSIM規格
台灣銷售的iPhone XS與XR將採SIM卡+eSIM規格

就蘋果目前公布資訊,顯示預計推行 eSIM 版 iPhone XS 系列、iPhone XR 的國家地區為美國、英國、奧地利、加拿大、克羅埃西亞、捷克、德國、匈牙利、印度與西班牙,但從相關消息指出,台灣預計上市版本將採 eSIM 規格,而非中國市場採用的雙 SIM 卡版本。 相比雙 S

日期:2018-09-17 人氣:13976
iPhone XS系列資費整理 5大電信提前公布4G方案
iPhone XS系列資費整理 5大電信提前公布4G方案

中華電信、遠傳電信、台灣大哥大、台灣之星,以及亞太電信宣布 iPhone XS 與 iPhone XS Max 將於 9/21 在台灣正式上市,門市當日也會提前上午 8 點營業,配合新 iPhone 開賣。五大電信亦同步推出 4G 資費優惠方案,提供消費者選擇,甚至也有業者開始受理線上預約登記購。《

日期:2018-09-16 人氣:44101
效能跑分出爐!iPhone XS Max確認擁4GB RAM
效能跑分出爐!iPhone XS Max確認擁4GB RAM

蘋果 2018 年秋季新品發表會正式推出 Apple iPhone XS、iPhone XS Max、iPhone XR 等新機,不少人關注所搭載新一代 A12 Bionic 處理器的效能表現。稍早 Geekbench 跑分資料庫中出現多筆新 iPhone 的效能成績,其中型號為 iPhone 11

日期:2018-09-14 人氣:23711
[觀點]iPhone XS系列售價為什麼可以賣這麼貴?
[觀點]iPhone XS系列售價為什麼可以賣這麼貴?

蘋果在今年秋季發表會上公布 iPhone XR、iPhone XS 與 iPhone XS Max 三款新機,其中 iPhone XS Max 毫無疑問成為蘋果有史以來最貴的 iPhone 機種,同時也顯示在去年 iPhone X 成功挑戰手機市場定價策略後,蘋果認為在手機市場定價模式仍有逆向往上發

日期:2018-09-14 人氣:41921
中華電信公布iPhone XS與XS Max購機資費方案
中華電信公布iPhone XS與XS Max購機資費方案

中華電信今日(9/13)除了宣布 iPhone XS 與 iPhone XS Max 將於 9/21 上午 8 點在全台 560 餘間指定門市及中華電信官網同步開賣外,還推出 iPhone XS 與 iPhone XS Max 購機資費方案,主打月繳 1,399 元,申辦大 4G 或新精選購機方案(

日期:2018-09-13 人氣:53217
iPhone XS與XS Max 五大電信預購消息整理
iPhone XS與XS Max 五大電信預購消息整理

蘋果 iPhone XS 與 iPhone XS Max 將於 9/21 在台灣正式上市,中華電信、遠傳電信、台灣大哥大、台灣之星,以及亞太電信宣布當天將同步開賣。另外,遠傳電信、台灣大哥大即日起受理線上預約登記,台灣之星與亞太電信更推出優惠方案,將於 9/14 下午啟動預購。《SOGI 手機王》特

日期:2018-09-13 人氣:22972
除了iPhone和Apple Watch series 4 蘋果還公布新消息
除了iPhone和Apple Watch series 4 蘋果還公布新消息

除了公布三款 iPhone 新機,以及新款 Apple Watch series 4,蘋果也宣佈將於 9 月 17 日釋出 iOS 12、watchOS 5.0 與 tvOS 12 正式版本更新,同時也將在 10 月 24 當週釋出 macOS Mojave 正式版本。除此之外,蘋果更宣佈 Home

日期:2018-09-13 人氣:4755
[觀點]iPhone XR為發表會亮點 蘋果往醫療整合應用邁進
[觀點]iPhone XR為發表會亮點 蘋果往醫療整合應用邁進

從此次蘋果秋季發表會揭曉新品,可以看見蘋果終於接納更多市場實際需求,例如加入雙 SIM 卡設計、具體提昇相機拍攝體驗,同時也重新思考入門定位機種產品設計方向。另外,從新款 Apple Watch series 不僅增加螢幕顯示面積、提昇整體設計質感,同時也更進一步向醫療領域應用邁進。

日期:2018-09-13 人氣:6381
新iPhone XR、XS與XS Max比一比有什麼不同?
新iPhone XR、XS與XS Max比一比有什麼不同?

蘋果正式揭曉 iPhone XR、iPhone XS,以及 iPhone XS Max 之後,我們透過表格整理比較三款新機具體差異,並且與去年推出的iPhone X 做比較。 相關文章: iPhone Xs揭曉,還有看起來不是很大的6.5吋iPhone Xs Max 今年新

日期:2018-09-13 人氣:48749
蘋果手機創新高價 iPhone XS Max台灣價格52.9K
蘋果手機創新高價 iPhone XS Max台灣價格52.9K

蘋果稍早公布 iPhone XS、iPhone XS Max 與 iPhone XR 台灣上市價格,再創 iPhone 售價新高,規格最高的 6.5 吋 iPhone XS Max 512GB 版本要價 52,900 元,而售價最低的新機 6.1 吋 iPhone XR 64GB,仍要 26,900

日期:2018-09-13 人氣:72688
iPhone XS揭曉 還有大螢幕的6.5吋iPhone XS Max
iPhone XS揭曉 還有大螢幕的6.5吋iPhone XS Max

如先前傳聞,繼承 iPhone X 設計語言的新款手機確實叫做 iPhone XS,同時蘋果也一併揭曉採 6.5 吋螢幕設計,但實際大小僅與過往 Plus 版本尺寸相近的 iPhone XS Max。 以定位上來看,此次揭曉的 iPhone XS 與 iPhone XS Max 基本上延續去年

日期:2018-09-13 人氣:14962
蘋果iPhone XS系列9/14台灣可預購 XR則是10月上市
蘋果iPhone XS系列9/14台灣可預購 XR則是10月上市

蘋果稍早發表新一代 iPhone 手機,蘋果官網已公布台灣上市相關資訊。Apple iPhone XS 系列預計 9/14 下午 15:01 開放預購,9/21 正式上市,搭載 OLED 螢幕,共有 64GB、256GB、512GB 三種儲存空間版本,以及銀色、太空灰、金色等款式。5.8 吋 App

日期:2018-09-13 人氣:85195
蘋果秋季發表會轉播中 iPhone Xr、Xs與Xs Max即將亮相
蘋果秋季發表會轉播中 iPhone Xr、Xs與Xs Max即將亮相

蘋果秋季新品發表會預計美國時間 9 月 12 日上午 10 點(台灣時間 9 月 13 凌晨 1 點)在賈伯斯劇院(Steve Jobs Theater)登場。稍早已有消息指出,蘋果新一代 iPhone 將分別命名為 iPhone Xr 與 iPhone Xs / Xs Max,同步推出的可能還有

日期:2018-09-13 人氣:3964