發文數:3
發表時間:2016-04-13 16:07:19
發表時間:2016-04-13 16:07:19
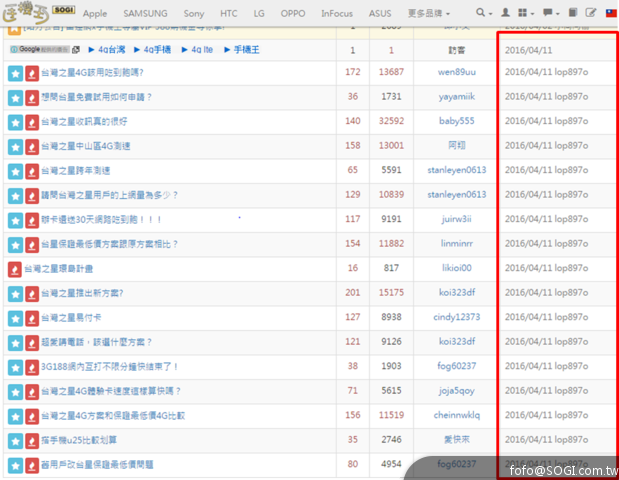
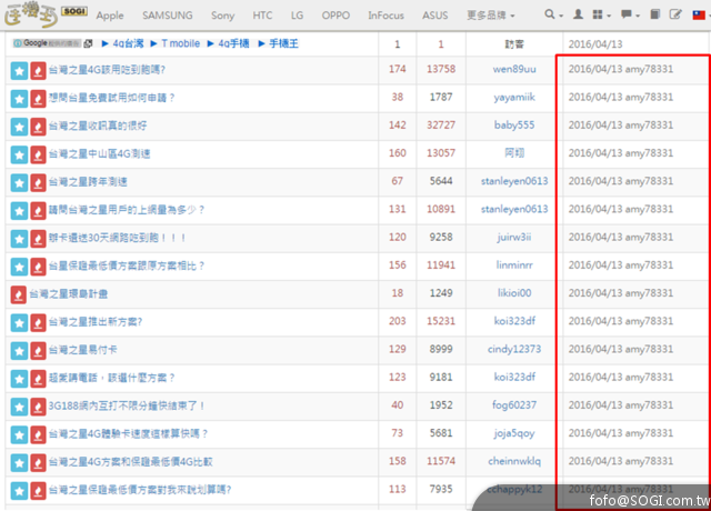
發現台灣之星的討論區,會一直有人在洗文章的狀況,
像這幾天很明顯都有不同帳號在輪流回應好評,
文章也都是舊的在洗文而已,
這蠻明顯是故意在操作的啊...
請問有可以解決的辦法嗎??
附上這幾天觀察下來的截圖,請版主看看可不可以處理一下,謝謝
4/11
4/12
4/13
fofo 於 2016-05-28 16:07:24 修改文章內容
商業贊助
發文數:1發表時間:2026-04-06 11:12:13
感謝您的回報!
目前站方已著處理此問題
Leon 於 2016-05-17 11:30:57 修改文章內容
發文數:3
發表時間:2016-07-19 14:46:34
發表時間:2016-07-19 14:46:34
fofo 於 2016-07-19 14:46:34 修改文章內容




